1. Дом и Сад
  2. Строительство и Аксессуары
  3. Кондиционирование и вентиляция
  4. Вентиляторы

Вентилятор для ванной Harmann NAX 120 черный



#товара: 13028714393

Все товары продавца: wentylacja24_pl

Состояние Новый

Счет-фактура Я выставляю счет-фактуру НДС

Бренд Харман

Тип для ванны

Диаметр 120 мм

Вес с индивидуальной упаковкой 0.67 кг

Код производителя NAX BM 120 czarny matowy z klapą

Цвет Белый

Количество 186 штук

  • Количество

  • Проблемы? Сомнения? Вопросы? Задайте вопрос!

    Wentylator łazienkowy NAX BM120

    Elegancki panel w kolorze głębokiej matowej czerni.

    Dane techniczne

    • Model : NAX BM 120
    • Przepływ powietrza max: 160 m3/h
    • Średnica : 120 mm
    • Pobór mocy max: 25 W
    • Poziom hałasu w odległości 3m: 37 dB(A)
    • Łożysko : Kulkowe
    • Zasilanie: 230 V/ 50 Hz
    • Waga: 0,67 kg
    • Kolor: Czarny matowy
    • Producent: Harmann

    Konstrukcja

    Wentylatory łazienkowe NAX charakteryzują się zwartą, płaską konstrukcją i estetycznym wzornictwem.

    Obudowa w całości wykonana została z odpornego na uderzenia tworzywa sztucznego ABS w kolorze czarnym matowym.

    Wentylator wyposażony w łożyska kulkowe, dzięki którym charakteryzuje się długą żywotnością, wyższą wydajnością i możliwością montażu w dowolnej pozycji (na ścianie lub suficie). Posiada również zintegrowane zabezpieczenie termiczne, które chroni urządzenie przed przegrzaniem.

    Обратный клапан

    Вентилятор оснащен откидной крышкой из гибкого пластмасса, которая предотвращает явление отвода воздуха из вентиляционных каналов в помещения.

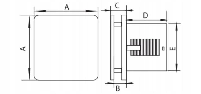
    Wymiary

    • A - 158 mm
    • B - 19 mm
    • C - 30 mm
    • D - 103 mm
    • E – 115 mm

    Корзина 0