1. Автомобили
  2. Автозапчасти
  3. Топливная система
  4. Прокладки

Zestaw uszczelnień wtryskiwaczy AUDI VW SEAT SKODA 2.0 TDI CR do 2011



#товара: 16956079056


Состояние Новый

Счет-фактура Я выставляю счет-фактуру НДС

Качество деталей (в соответствии от ПРОИЗВОДИТЕЛЯ) Q - оригинал с логотипом производителя деталей (OEM, OES)

Производитель части Erling

Тип двигателя Дизель

Вес с индивидуальной упаковкой 1 кг

Номер детали 4x467.450 odpowiada: 03L103113

Версия Европейская

Состояние упаковки оригинальные

Коммерческие автомобили

Автомобили

03L103113 WHT 007 480 467.450

Zestaw uszczelnień wtryskiwaczy AUDI VW

SEAT SKODA 2.0 TDI CR do 2011

114581015 059130119 059 130 119

AUDI AP 8P A4 B8 AUDI A6 C6 A5 AUDI Q5

WHT007480 WHT007119 WHT 007 119

DRM007S WHT007480A WHT 007 480 A

F00VP01003 F 00V P01 003 103836 FE103836

SKODA SUPERB YETI 2.0 TDI 059 130 519

VW PASSAT CC GOLF TIGUAN SKODA OCTAVIA

WHT000884 WHT 000 884 059130519

ZESTAW NAPRAWCZY wtryskiwaczy 2.0 TDI CR

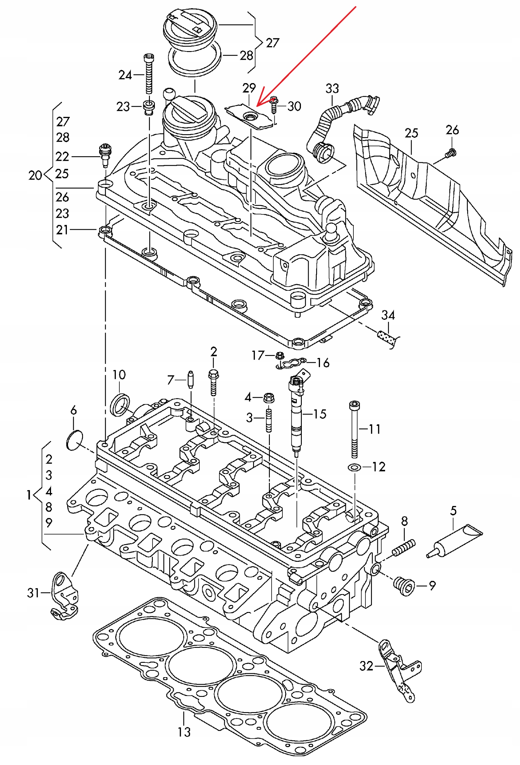
zaślepka płytka mocująca wtryskiwacza

zestaw instalacyjny wtryskiwaczy

CAGA CAGB CAGC CAHA CBDB CBDC

CAHB CBAA CBAB CBBB CBEA CEGA

CBEA CMEA CAGA CAGA CJAA

CAHA CBDB CEGA CBBB CJDA

CBDB CEGA CBAA CBAB CJDD

CBAC CBBA CBBB CBDA 03L 103 113

CBDC CBDA CBDB 883.680

Количество 2 штук

  • Количество

  • Проблемы? Сомнения? Вопросы? Задайте вопрос!

    Zestaw uszczelnień wtryskiwaczy AUDI VW SEAT SKODA 2.0 TDI CR do 2011

    Komplet uszczelniaczy wtryskiwaczy Common rail CR 2.0 TDI usytuowanych w pokrywie zaworów 03L103113 + Komplet uszczelek wtryskiwaczy Common rail CR 2.0 TDI cena za kpl na 4 wtryskiwacze

    • 4x uszczelniacze wtryskiwaczy (w pokrywie zaworów) ELRING 467.450 odpowiada: 03L103113  4041248838501
    • 4x oring środkowy wtryskiwacza FEBI 103836 odpowiada: WHT000884 /16,2x1,5/ 4054224038369
    • 4x uszczelka miedziana FISHER 554.975.010 odpowiada: 059130519 /7,7x1,5/ 5902076373659
    • 4x oring przelewu wtryskiwacza M&D 9881 odpowiada: 059130119 WHT007480 WHT007480A /2,8x1,5/ 808888982667
    • Audi A3 2009-2013
    • Audi A3 Cabrioelt 2008-2013
    • Audi A4/Avant 2008-2012
    • Audi A4 Allroad Quattro 2010-2016
    • Audi A5/S5 Cabriolet 2010-2011
    • Audi A5/S5 Coupe/Sportback 2008-2011
    • Audi A6/Avant 2009-2011
    • Audi Q5 2009-2012
    • Seat Altea 2007-2013
    • Seat Exeo 2009-2014
    • Seat Leon 2006-2013
    • Seat Toledo 2005-2009
    • Skoda Octavia 2004-2013
    • Skoda Superb 2008-2013
    • Skoda Yeti 2010-2013
    • VW Golf 2007-2013
    • VW Jetta 2006-2014
    • VW Passat 2008-2011
    • VW Tiguan 2008-2011
    • CAGA CAGB CAGC CAHA
    • CAHB CBAA CBAB CBBB
    • CBEA CMEA CAGA CAGA
    • CAHA CBDB CEGA CBBB
    • CBDB CEGA CBAA CBAB
    • CBAC CBBA CBBB CBDA
    • CBDB CBDC CBEA CEGA
    • CJAA CJDA CJDD CBDC
    • CBDA CBDB

    W jednym modelu auta, mogą występować różne warianty części. W przypadku niepewności o właściwy dobór części, zalecana jest weryfikacja wg numeru VIN

    Корзина 0